LTZC

Non-standard Bearing Parts

  1. Home
  2. Products
  3. Non-standard Bearing Parts

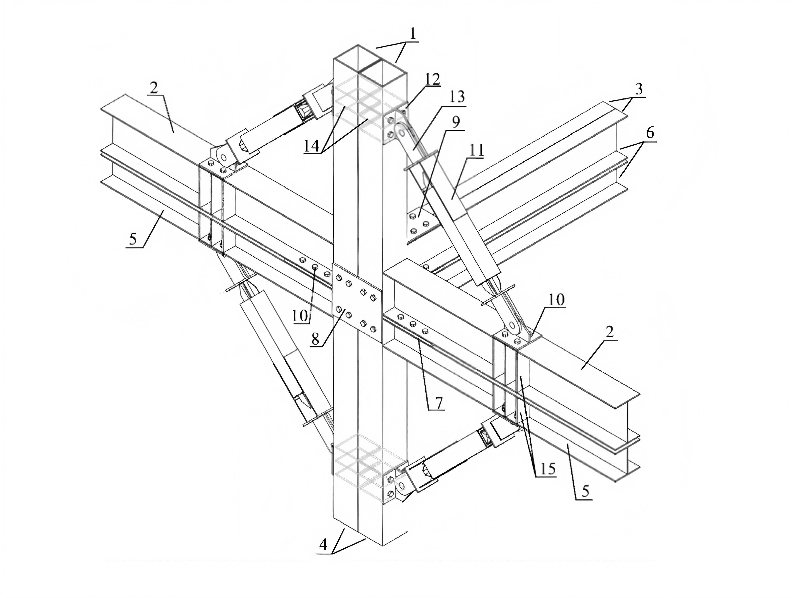
Supporting Structural Parts

Support structures are crucial load-bearing components in slewing bearings, heavy machinery, and engineering equipment. They support the loads of slewing bearings or slewing supports, and these structures are specially designed to withstand high stress and dynamic loads, ensuring smooth equipment operation. Our support structures, characterized by high rigidity, high precision, and high durability, are widely used in wind turbines, lifting machinery, port equipment, and large-scale industrial automation systems, and are essential for the safe and efficient operation of large machinery.

LTZC's independently developed support structure has three core advantages: high rigidity—optimized layout of reinforcing ribs; high precision—advanced CNC machining technology; and high durability—surface hardening treatment and corrosion-resistant coating.


Get a Quote

Brochure

Supporting Structural Parts

What is a slewing bearing structural component?

Structural components used to support, position, and secure bearings, while simultaneously bearing loads and ensuring coaxiality and rigidity, are the "support and connection" parts between the bearing and the equipment body. Common types include bearing housings, retaining rings, cantilever supports, bases, and adjusting shims.

Key components of the bearing support structure

Bearing housings are primarily responsible for transferring the load from the bearing to other components.  They come in flange-type and vertical-type designs.

Bearing fixing components ensure that the bearing and bearing housing are securely and accurately installed. These mainly include:  bearing nut、bearing spacer/collar、end-cap、washer、bolts and screws

Supporting Structural Parts  features

High-Strength Design: Utilizing high-performance materials and an optimized structure, it withstands heavy loads and impacts, ensuring stable equipment operation.

Precision Machining: Precise dimensions and strict tolerance control ensure a perfect fit with the slewing bearing, reducing mechanical friction and wear.

Wear-Resistant and Corrosion-Resistant: Surface reinforcement and corrosion protection ensure durability in harsh operating environments, extending service life.

Customized: A variety of specifications and custom designs are available to meet the installation requirements of diverse equipment.

Easy Installation and Maintenance: A rational structure facilitates on-site installation and regular maintenance, improving work efficiency.

Supporting Structural Parts Advantages

Improve equipment stability: Uniform support ensures smooth operation and reduces vibration and noise.

Wide Application: Widely used in wind power, lifting machinery, port machinery, construction machinery, and large-scale industrial automation equipment.

Reduced Operating Costs: Durable design reduces maintenance frequency and downtime, saving maintenance costs.

Why choose LTZC bearings?

A Trusted Brand

With over 20 years of experience in bearing R&D, our global service network covers countries such as India and Russia, ensuring fast and efficient technical support for all bearing issues and ensuring the smooth operation of your equipment.

High-Quality Bearings

Advanced CNC production equipment and manufacturing processes guarantee bearing precision and durability. LTZC bearings also carry third-party testing reports to ensure they meet international standards.


Product Range

LTZC products include slewing bearings, slewing drives, precision thin-wall bearings, and custom bearings. They are widely used in cranes, heavy machinery, and port machinery, maintaining stable performance under harsh operating conditions.

Custom Bearings

Our experienced technical team provides customized bearing solutions for complex applications. Services include load analysis and bearing selection, service life calculations, 3D design, and engineering drawings.


LTZC slewing bearing manufacturer

LTZC Bearings is a trusted bearing manufacturer specializing in slewing bearings, slewing drives, and precision bearings. With advanced CNC machining equipment, comprehensive heat treatment, and strict quality control, our products meet international standards and are ISO certified.

We export high-quality industrial bearings to Germany, India, Russia, and Canada, earning over 10,000 satisfied customer feedbacks. With strong OEM and ODM capabilities, LTZC provides fast delivery and custom bearing solutions for heavy machinery, construction, and automation industries.

View Manufacturing Capabilities
Customized bearing solutions

Customized bearing solutions

LTZC is a professional slewing bearing manufacturer,providing a full range of custom bearing services, including slewing rings, non-standard bearings, large bearings, thin-section bearings, crossed roller bearings, and four-point contact ball bearings. Whether the requirements are special sizes, materials, or complex operating conditions, we can provide customers with the optimal solution through professional R&D and precision manufacturing.

More

Related Applications

partners

Contact LTZC Bearing

Feel free to get a quote on the latest price of slewing bearings for any largeapplications, please include your application, needs, requirements and otherdetails.